• Post Reply Bookmark Topic Watch Topic
  • New Topic
permaculture forums growies critters building homesteading energy monies kitchen purity ungarbage community wilderness fiber arts art permaculture artisans regional education skip experiences global resources cider press projects digital market permies.com pie forums private forums all forums
this forum made possible by our volunteer staff, including ...
master stewards:
  • Carla Burke
  • Nancy Reading
  • John F Dean
  • r ransom
  • Jay Angler
  • Timothy Norton
stewards:
  • paul wheaton
  • Tereza Okava
  • Nicole Alderman
master gardeners:
  • M Ljin
  • Christopher Weeks
gardeners:
  • Jeremy VanGelder
  • thomas rubino
  • Megan Palmer

Designing a swale builder tractor tool

 
steward & bricolagier
Posts: 16137
Location: SW Missouri
12457
2
goat cat fungi books chicken earthworks food preservation cooking building homestead ungarbage
  • Likes 7
  • Mark post as helpful
  • send pies
    Number of slices to send:
    Optional 'thank-you' note:
  • Quote
  • Report post to moderator
Travis Johnson had a wonderful idea that I'd love to see worked on by all of us, in his words (in this thread Eleven Permie Things)

Travis Johnson wrote: 6. Design a pull-behind, or 3 point hitch implement that builds a properly shaped swale in one pass so more swales will be built world wide (Can’t: this would require something working within a lot of constraints; size, power, stability, etc)



That idea fascinates me, as I have thought about it too. I have blades I can pull behind my tractor, and it seems they could be shaped differently to make them designed to cut a good swale in one or few passes (if you need more depth.)

What would they look like? I'll get back to this with my ideas, will take me a bit of drawing time I don't have right this minute, and I look forward to other people's ideas!

And from my reply to him in that thread:

Pearl Sutton wrote:Would be awesome cool to do a weekend workshop that designed and built a swale builder thing. Not at your place, that puts all the physical work on you, who else has space, welding equipment and the desire to do this? Not me, not you, but the group mind here has a LOT of resources between us.



Group mind, ENGAGE!!  :D
 
pollinator
Posts: 820
Location: South-central Wisconsin
336
  • Mark post as helpful
  • send pies
    Number of slices to send:
    Optional 'thank-you' note:
  • Quote
  • Report post to moderator
For shallow swales you could probably use something like a snowplow blade. For deeper ones, maybe a sort of diagonal auger?
 
pollinator
Posts: 4958
1208
transportation duck trees rabbit tiny house chicken earthworks building woodworking
  • Likes 4
  • Mark post as helpful
  • send pies
    Number of slices to send:
    Optional 'thank-you' note:
  • Quote
  • Report post to moderator
My thoughts were along these lines:

The only thing that really cuts sod, is a plow, so have a series of them to help break the sod open. But to reduce horsepower required, and tractive effort, the plows could be smaller in size then the big plows we all know so well. They would get bigger as needed to break up the sod to the depth needed across the width of the Swale Builder. Lets say the swale has a shallow in slope to the gutter of three feet, then a gutter depth of 8 inches, and then an out slope steep, but two feet wide. That is a width of 6 total feet. The first plow would cut only four inches deep, the second plow would plow six inches dep, and the third plow would cut 8 inches deep, as well as form the gutter of the swale. The fifth plow would only cut 4 inches, and the sixth would cut six inches.

Then once the soil is loose by the plows o the proper depth, immediately behind them we would start shaping the swale. This presents you with a problem though, there would be a lot of clods of sod to deal with. The only way I can see breaking those clods apart, at the same time the soil behind the swale builder is shaped, would be a powered circle harrow. I will post a video of what I am talking about.

But the swale builder I envision would have a series of smaller powered circle harrows, not a big singular one. The first would do the wide, 3 foot shall slope to the gutter, set at an angle to get that nice slope, then another to do the narrower back slope. behind that I would place two more circle harrows, geared to the first two so that they spin backwards and redistribute the soil again. With four sets of teeth spinning through the clods, it SHOULD give you a nice finished surface in a single tractor pass without requiring an insanely big tractor. The key word is "powered" circle harrows because a PTO has 100% traction, unlike trying to pull something by tractor tire traction alone.

I would make the circle harrows able to be used independently of the plows, that way if the owner wanted too, he/she could reshape the swale with just the power circle harrows, and NOT the plows.

Incidentally, I would work with Soil and Water Conservation Districts of permie dominated counties so that they would get a Swale Builder, and farms wanting to use one would not have to buy one, but go to their County's Soil and Water Conservation District and rent one. The rent would just be to cover the wear points of the machine, and wear and tear. The whole idea is to get more swales built. But not just swales, PROPERLY formed swales to prevent soil erosion.
 
steward
Posts: 16155
Location: Northern WI (zone 4)
5268
9
hunting trees books food preservation solar woodworking
  • Mark post as helpful
  • send pies
    Number of slices to send:
    Optional 'thank-you' note:
  • Quote
  • Report post to moderator
Preface question:  What's a swale look like for this device?  Just a shallow ditch or a ditch with a berm next to it?

Followed by the totally dumb non-farmer question:  What if the implement lifted the sod and removed or moved the dirt underneath and then set the sod back down?  
 
Posts: 97
Location: Eastern Washington
26
  • Likes 2
  • Mark post as helpful
  • send pies
    Number of slices to send:
    Optional 'thank-you' note:
  • Quote
  • Report post to moderator
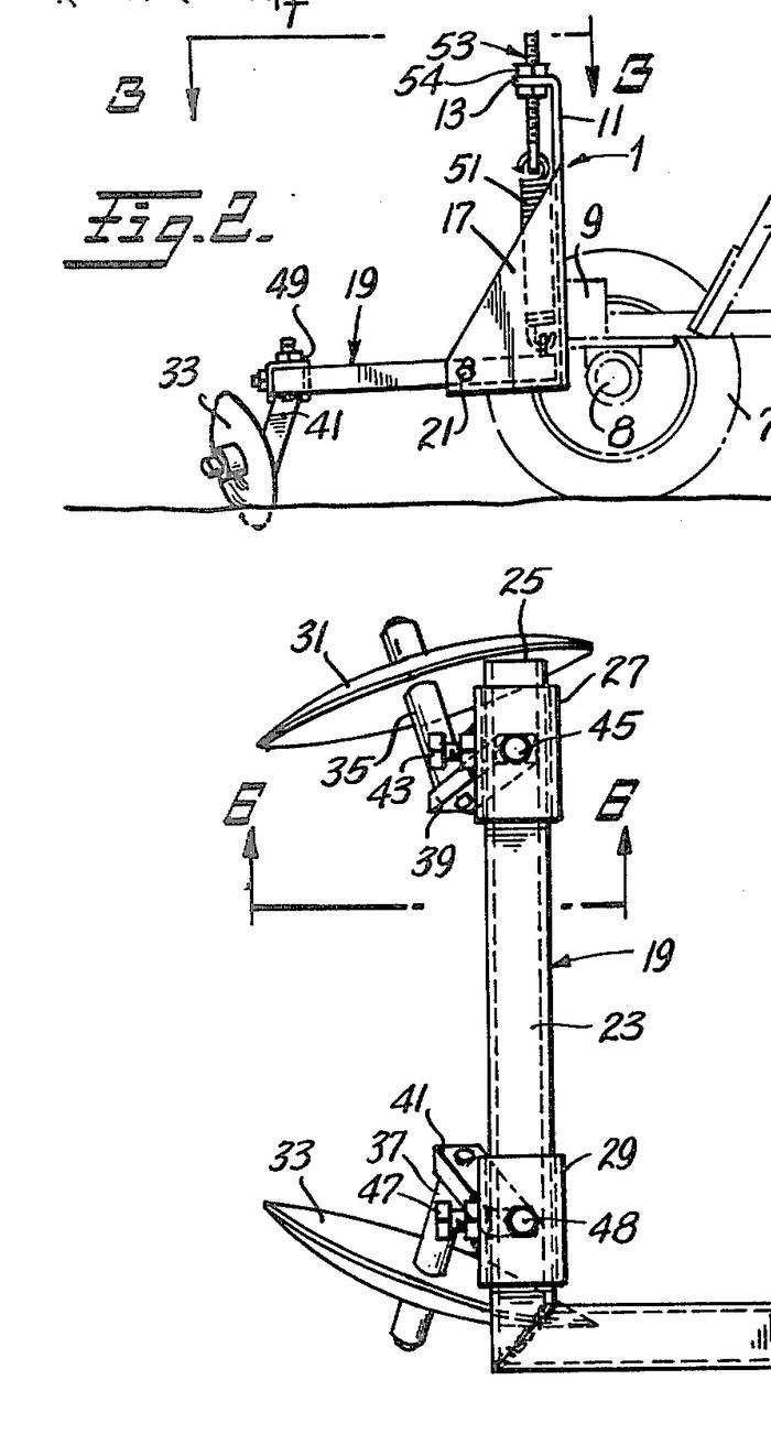
A similar tool on the market does the opposite job, fills ruts and tracks left by circle pivot irrigation systems. There are a lot of plow parts, colters and disk tools sitting in farm junkyards that can be repurposed into a swale maker. Some vegetable row crops get planted with custom toolbar setups that make a continuous hill. Some of them use a rototill action or vertical power harrow like Travis is suggesting. So all the parts are out there. I think the action of a  disk would do the swale making action better than a plow. If someone finds no existing plow point is available, there are shops that build custom hardened points for $200-$300. You can get them with tungsten inserts that are worth it in some types of soil. (In keyline subsoil ripping I had a set of good points last 4x the cheap points.)

Picture of rut filler from a patent. Imagine it with blades reversed to make a swale instead.

If you happen to have a ag gps available for the tractor (or a funding agency, they love an excuse to buy expensive tech), there is terrain software that could follow a custom line or stay within a topographical height.
US4209068-rut-filler.png
[Thumbnail for US4209068-rut-filler.png]
 
Travis Johnson
pollinator
Posts: 4958
1208
transportation duck trees rabbit tiny house chicken earthworks building woodworking
  • Likes 3
  • Mark post as helpful
  • send pies
    Number of slices to send:
    Optional 'thank-you' note:
  • Quote
  • Report post to moderator
I have always loved the simplicity of the disc plow, I just was not sure it would cut through sod?

We do not have them here, but I am not sure if that is because we are old in age, and so we used plows back in the day, and still use them just because that is what we have always done, or if our soil here just cannot have a disc plow bust it open? We do have disc harrows of course, but they are used on soil that has previously been plowed, or in row crop fields like corn, where the ground is not heavily sodded.

Another option other than a plow or disc plow, might be to use cultivator shanks with vee-shapped sweeps, or s shaped sweeps set at the proper depth.

I am not sure the powered circle harrow would pulverize the sod either. The only reason I liked them in this application was because you could set the harrow at a designated angle compared to the plane the tractor was sitting on, and possibly bust sod clods, but also form a grade at the same time. I can think of no other harrow that would do that.

I do know on my own farm I need something to break up sod. I was going to plant a few acres of winter wheat this year, but while I do have a plow, I do not have a disc harrow, so even if I did plow the field up, I would not have any way to break up the sod so I could plant it. I wondered though, if a circle harrow might help break up the clods better, and help level the field? For what it would cost me to buy a disc harrow, I could build a circle harrow. I really wanted to get some wheat and rye in the ground as I wanted to spend the winter working on a homemade combine so that I might convert my farm from sheep, into small grains.

Another thing we have to figure out is if this will be a towed machine, or a three point hitch implement. Being towed, there would be a much greater degree of consistency in varried terrain, but towed implments reduce tractive effort. The three point hitch, by its very nature increases tractive effort the harder the tractor pulls, BUT has the problem of draft control. The latter is not an issue with tractors equipped with draft control, but few tractors today come with that option, because...well...who the heck plows much anymore?
 
Posts: 664
Location: Australia, New South Wales. Köppen: Cfa (Humid Subtropical), USDA: 10/11
3
transportation hugelkultur cat forest garden fish trees urban chicken cooking woodworking homestead
  • Likes 3
  • Mark post as helpful
  • send pies
    Number of slices to send:
    Optional 'thank-you' note:
  • Quote
  • Report post to moderator

Since swales are usually significant structures, it's a big ask for a plough to make perfectly profiled swales.

Therefore, perhaps a Keyline plough, or a modified Keyline plough, may do the job? It'll get the hard part out of the way e.g. two tynes placed close together, creating a double keyline, it's just a matter of digging out the loosened row of dirt between them and creating the classic swale shape.

A normal chisel plough with only two closely positioned tynes, maybe with one lower than the other, would do the job? Perhaps adding a disc to turn the row of dirt?

Keyline Plough 1

Keyline Plough 2
 
pollinator
Posts: 6109
Location: Bendigo , Australia
568
plumbing earthworks bee building homestead greening the desert
  • Likes 2
  • Mark post as helpful
  • send pies
    Number of slices to send:
    Optional 'thank-you' note:
  • Quote
  • Report post to moderator
Images of rotary ditch diggers
I have a 'ditch digger', it consists of a spinning disc with blades set to cut and throw soil sideways. Its depth and amount of side throw can be adjusted.
I use it to create channels through a forest to catch runoff and I have used it to cut a swale and finished off moving the pulverised soul as required.
 
Travis Johnson
pollinator
Posts: 4958
1208
transportation duck trees rabbit tiny house chicken earthworks building woodworking
  • Likes 1
  • Mark post as helpful
  • send pies
    Number of slices to send:
    Optional 'thank-you' note:
  • Quote
  • Report post to moderator
Maybe a better direction to go would be to make a specifically shaped bucket to mount to an excavator? Not a Vee shaped bucket like this one, but one shaped for the hallow inslope, the gutter, and then the shorter outslope. You know, sort of like the division symbol in math. An excavator could be rented, traverse any terrain, and be fast and cheap to operate.

 
Posts: 9002
Location: Victoria British Columbia-Canada
710
  • Mark post as helpful
  • send pies
    Number of slices to send:
    Optional 'thank-you' note:
  • Quote
  • Report post to moderator
What about bolting on a specially shaped plate to an excavator clean up bucket.  The cutting surface is usually removable. There could be a ski that limits depth, for a smoother cut. The problem might be that if built too far from the knuckle,  it would cause a lot of strain there.
 
Steward and Man of Many Mushrooms
Posts: 6145
Location: Southern Illinois
1919
transportation cat dog fungi trees building writing rocket stoves woodworking
  • Likes 2
  • Mark post as helpful
  • send pies
    Number of slices to send:
    Optional 'thank-you' note:
  • Quote
  • Report post to moderator
Mike,

Since no-one has answered your specific question so far, I will give it a shot.

When I think of a swale, I think of something like a shallow ditch cut roughly perpendicular to a slope (meaning it cuts across the direction of the water flow down a hill) with a very gentle slope on either side.  It may be somewhat broad, but generally does not look like a steep and narrow ditch.  It’s purpose should be to redirect water flow around a structure or area or otherwise to slow the flow of water down a hill.

The last time I had to dig a swale, I did so to redirect water flow from a negative slope behind my garage.  The swale was perhaps only 1-2 feet deep but 10-15’ across.  When the work was done, the swale seemed to disappear and the garage appeared to be built on a slight rise.

Just my thoughts,

Eric
 
pollinator
Posts: 478
Location: NE Ohio / USDA Zone 5b
77
3
monies forest garden trees writing wood heat homestead
  • Likes 2
  • Mark post as helpful
  • send pies
    Number of slices to send:
    Optional 'thank-you' note:
  • Quote
  • Report post to moderator
I anticipate creating swales with a tractor and a two bottom plow.  For me here in NE Ohio, that seems to be sufficient for my needs here - I suppose a lot depends on what one is attempting to do with the swales and how integral : necessary they are to the overall design in the first place.  Initially, I wanted big, deep swales with an excavator - but realized that was completely unnecessary in my particular context.  Personally, I’ve had a big shift in perspective about swales in the landscape...at least for me, on out land, here in NE Ohio.  
 
Travis Johnson
pollinator
Posts: 4958
1208
transportation duck trees rabbit tiny house chicken earthworks building woodworking
  • Likes 4
  • Mark post as helpful
  • send pies
    Number of slices to send:
    Optional 'thank-you' note:
  • Quote
  • Report post to moderator

Rob Kaiser wrote:I anticipate creating swales with a tractor and a two bottom plow.  For me here in NE Ohio, that seems to be sufficient for my needs here - I suppose a lot depends on what one is attempting to do with the swales and how integral : necessary they are to the overall design in the first place.  Initially, I wanted big, deep swales with an excavator - but realized that was completely unnecessary in my particular context.  Personally, I’ve had a big shift in perspective about swales in the landscape...at least for me, on out land, here in NE Ohio.  




Oh for sure you can use a two bottom plow, I have made many that way, it is just time consuming. Somewhere on here I described how to do it with just a plow and grader blade on a tractor.

Most of mine on my farm were made with a small bulldozer. I did half a mile of them one morning and was done before lunch. With a bulldozer it really is fast, and you can rent a bulldozer for cheap! ($450 per day) But anything that moves dirt can make them.

This topic was just about making a pull behind implement that was purposely made for the job so the swale would be consistent and fast to make.
 
Eric Hanson
Steward and Man of Many Mushrooms
Posts: 6145
Location: Southern Illinois
1919
transportation cat dog fungi trees building writing rocket stoves woodworking
  • Likes 1
  • Mark post as helpful
  • send pies
    Number of slices to send:
    Optional 'thank-you' note:
  • Quote
  • Report post to moderator
If we are still talking about some sort of tractor pulled device for making a swale, I will chime in.

For starters I will discuss a devise pulled behind my JD 2038r (37 hp).  I wanted something for a mid/small sized tractor.

I would imagine such a device being approximately 6’ wide and would have 3 stages. It would not be able to dig the swale in 1 pass, but rather several.

The first stage would be a series of chisel tips like the scarifiers like those on a box blade.  These would penetrate the ground and begin to break soil, especially sod.  The second stage would basically be a disc harrow that would chop up soil and continue digging deeper than scarifiers.  These would be notched blades and not smooth round blades.  The final stage would be something like a scrape blade pivoted down on one end and angled out and away as desired.  The whole machine would not be lifted by the 3point hitch but rather be carried on wheels that would protrude down for transport and lift up and away for actual use.

I could imagine using such a device on sandy to clay soils, but substantially rocky ground likely would not work.  And as I stated earlier, I imagine this would need several passes to get the desired slope for the swale.

Just my thoughts,

Eric
 
Rob Kaiser
pollinator
Posts: 478
Location: NE Ohio / USDA Zone 5b
77
3
monies forest garden trees writing wood heat homestead
  • Likes 1
  • Mark post as helpful
  • send pies
    Number of slices to send:
    Optional 'thank-you' note:
  • Quote
  • Report post to moderator

Travis Johnson wrote:

Rob Kaiser wrote:I anticipate creating swales with a tractor and a two bottom plow.  For me here in NE Ohio, that seems to be sufficient for my needs here - I suppose a lot depends on what one is attempting to do with the swales and how integral : necessary they are to the overall design in the first place.  Initially, I wanted big, deep swales with an excavator - but realized that was completely unnecessary in my particular context.  Personally, I’ve had a big shift in perspective about swales in the landscape...at least for me, on out land, here in NE Ohio.  




Oh for sure you can use a two bottom plow, I have made many that way, it is just time consuming. Somewhere on here I described how to do it with just a plow and grader blade on a tractor.

Most of mine on my farm were made with a small bulldozer. I did half a mile of them one morning and was done before lunch. With a bulldozer it really is fast, and you can rent a bulldozer for cheap! ($450 per day) But anything that moves dirt can make them.

This topic was just about making a pull behind implement that was purposely made for the job so the swale would be consistent and fast to make.



A bulldozer is a great idea...with a proficient operator it’s be easy enough to knock out a substantial area in a day for sure.  

Friends around here have used two-bottom plows and I recently acquired a single bottom plow for around $100 in a yard sale for our small, subcompact tractor (23hp) - in the right conditions it might be able to handle a two bottom but I’m not sure.  I imagine a blade might be able to do something similar if configured properly.  

If someone with enough skills was able to build / fabricate an implement specifically for swales, that would certainly be interesting, but I’d be interested in seeing how this would be of benefit since there are many implements that perform similar functions as they are already?

Interesting topic indeed, will be sure to follow this and watch all links and videos to continue learning more about something I’m fairly ignorant about.  👍
 
pollinator
Posts: 1205
Location: Boston, Massachusetts
532
6
urban books building solar rocket stoves ungarbage
  • Likes 1
  • Mark post as helpful
  • send pies
    Number of slices to send:
    Optional 'thank-you' note:
  • Quote
  • Report post to moderator
Rather than sod clumps, as a problem to be dealt with, how about treating the sod in a different way?
I’m thinking of sod cutting, making three strips of sod, then relocating these strips and stacking them in a pyramid (1 on top of 2) to begin forming the berm. (Maybe the sod could even get flipped on the way?) Then a second pass with a different attachment like a bed shaper could move and shape the exposed soil to cover the sod pile and complete the berm.
The way I see it, a moldboard plow is cutting and turning the sod, but it’s also moving 8” or more of soil at the same time. The soil is breaking into clumps, and tearing the sod into clumps as it does.
Sod cutting leaves the heavy soil out of the equation, and leaves a lighter and more flexible mat of sod to deal with (think of those neat rolls of sod shipped on pallets)
Sod cutting machinery already exists, and maybe a simple modification to switch from rolling it up to redirecting it into a berm (maybe playground slides? Or conveyors?). It’s also a similar mechanism to a potato digger, maybe the sifting tines could angle to the side to stack the sod for the berm?
 
Travis Johnson
pollinator
Posts: 4958
1208
transportation duck trees rabbit tiny house chicken earthworks building woodworking
  • Likes 2
  • Mark post as helpful
  • send pies
    Number of slices to send:
    Optional 'thank-you' note:
  • Quote
  • Report post to moderator

Rob Kaiser wrote:If someone with enough skills was able to build / fabricate an implement specifically for swales, that would certainly be interesting, but I’d be interested in seeing how this would be of benefit since there are many implements that perform similar functions as they are already?



A bulldozer, grader, bucket loader, excavator, farm tractor, and heck even a skidder could build a swale, but I think a purpose made swale builder that could form a swale in one pass would be of huge benefit. The biggest benefit would be consistency. None of the other machines would make a consistent swale, and definately not in one pass. For instance with my bulldozer, it would form a nice berm and inslope, but it was a wad of sod rolled into a pile. It took several passes with the tracks to break apart the clods, which would then allow me to form the berm properly, and then taper the backslope. I did do a half mile of swale in a morning granted, but a sale builder could form a swale a mile long in an hour.

And the consistency would be better too. No gutter depth that varies from 6 inches to a foot deep, it would be 8 inches consistently.

But you are right about marketability. It really does not matter if a farm takes 3 days to build a swale with a farm tractor, or 1 hour with a swale builder, it is there for life, I do see more swales being built across the nation if they could be done consistently and faster, but it is not an attachment that would be hooked ono the tractor every other week by a farmer that buys one. That is kind of why I was thinking, if the Soil and Water Conservation Districts had them, one machine could be put to use per county by many farmers. Kind of like how they rent out no-till seed drills to area farmers.
 
Mike Haasl
steward
Posts: 16155
Location: Northern WI (zone 4)
5268
9
hunting trees books food preservation solar woodworking
  • Likes 3
  • Mark post as helpful
  • send pies
    Number of slices to send:
    Optional 'thank-you' note:
  • Quote
  • Report post to moderator
Kenneth, I think we're thinking along the same lines.  Here's what I was trying to convey further up the thread:

A device that undercuts the sod and lifts is temporarily.  Underneath the lifted sod, it pushes the dirt from one side to the other, making a ditch on one half and a berm on the other half.  Then it sets the sod back down.  Thus the sod can root back in and it limits erosion.

At least that's how it works in my head.  Crappy MS Paint sketch of the operation below (as seen from the tractor looking back at/through the implement
Swale-builder-for-tractor.png
[Thumbnail for Swale-builder-for-tractor.png]
 
Posts: 26
Location: Northern Germany
9
forest garden tiny house
  • Likes 1
  • Mark post as helpful
  • send pies
    Number of slices to send:
    Optional 'thank-you' note:
  • Quote
  • Report post to moderator
Interesting thread,

first thing that came to my mind (and food for your creative brains):

An integrated shaping tool for the mound on the lower side of the swale (after the actual digging tool).
Might be useful especially for steeper slopes tp prevent excavated material rolling down the hill.
Maybe even with a slight compacting device to stabilize it in place.

Just my 5 cents.
 
pollinator
Posts: 3847
Location: Marmora, Ontario
598
4
hugelkultur dog forest garden fungi trees rabbit urban wofati cooking bee homestead
  • Likes 1
  • Mark post as helpful
  • send pies
    Number of slices to send:
    Optional 'thank-you' note:
  • Quote
  • Report post to moderator
I was envisioning something between a ditch digger and a walk-behind snowplow, about six feet wide and with sets of disks, in three sections for the contour, and two types. The first would cut and displace the strips of sod, where applicable. If the ground is too rocky or the groundcover not coherent enough to be formed into sod strips, then disks more akin to the digger disks of the ditch digger would be used, and the gross dirt movement accomplished, piling it downslope.

Somewhere in the mix, I envision a keyline plough, a seeder, perhaps with discrete hoppers for drier mixes on the peaks and slightly cooler, wetter mixes in the dips, and a former to follow, and maybe even a tow-behind hopper full of mulch of some kind, just to cover the bare earth before the cover sprouts.

I love the idea of incorporating a GPS and other onboard sensing equipment that would let the machine be programmed to dig swales with those references, without need for people to do more than to look to make sure it was doing what it was supposed to from time to time, maybe on your smartphone, via aerial drone or from cameras atop sensor masts or something, while you tend to some aspect of life that requires your real attention.

-CK
 
Travis Johnson
pollinator
Posts: 4958
1208
transportation duck trees rabbit tiny house chicken earthworks building woodworking
  • Mark post as helpful
  • send pies
    Number of slices to send:
    Optional 'thank-you' note:
  • Quote
  • Report post to moderator
Another option would be to use a rototiller.

To get the right shape for the swale, the tines could be different depths so that as it churns the soil, it does so at the proper depth so that a person is no wasting horsepower. That would be a one step process for breaking up the sod, and then just having a grader blade in swale shape to form the swale.

I blew chopped hay on the side of excavations this summer, and it did not work very well (although required by law), but it would be easy to add a device that scattered winter rye or other conservation mix of seed over the swale so that in a few days, erosion control would be in place.
 
Posts: 2
  • Likes 1
  • Mark post as helpful
  • send pies
    Number of slices to send:
    Optional 'thank-you' note:
  • Quote
  • Report post to moderator
Try this:



This is a custom designed PTO powered device for cutting swales used in New Zealand.

Manufacturer is:  https://fieldmaster.co.nz/vortex-drain-cleaner
 
pollinator
Posts: 3987
Location: 4b
1461
dog forest garden trees bee building
  • Mark post as helpful
  • send pies
    Number of slices to send:
    Optional 'thank-you' note:
  • Quote
  • Report post to moderator

John Ohara wrote:Try this:

https://www.youtube.com/watch?v=UmsXo7Fw1xM

This is a custom designed PTO powered device for cutting swales used in New Zealand.

Manufacturer is:  https://fieldmaster.co.nz/vortex-drain-cleaner



I think that tool would work great if the guard were shaped differently so that it didn't throw the ditch material so far.  If you could make the guard wrap around further and deposit the soil all on the downhill side rather than throwing it, the swale would be made in one pass.  The blades may have to turn slower for that to work correctly.

 
John Ohara
Posts: 2
  • Mark post as helpful
  • send pies
    Number of slices to send:
    Optional 'thank-you' note:
  • Quote
  • Report post to moderator
The guards are adjustable you can see in the video one is down building up a berm and the other up throwing the dirt.

I'm debating whether to use this or a tiller to do a wider swale.
 
What's her name? You know. The fish girl. Ariel? She has a tiny ad.
grow your own garden and build your own home in the gardening gardeners program
https://wheaton-labs.com/bootcamp
reply
    Bookmark Topic Watch Topic
  • New Topic